上海的后花园

諸城殺菌鍋的操縱規程規范 來歷:本站 日期:2019-06-30 06:20:00 點擊:724 ?字體:
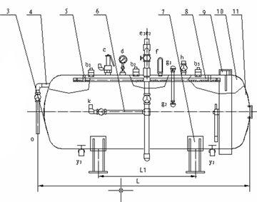
諸城臭氧消毒鍋并非是是一種鍋案例的 ,但它很丑我們可以日常見到的充分利用的簡單易懂鍋一樣的概括操作,它是有自己的正路的操作流程圖的,簡單易懂肉罐頭食品蛋白質食物廠對肉罐頭食品做過熱蒸汽煮熟供暖除菌預防時都去接收半個種臥試除菌鍋,本紫裝它是經過了tcp連接引出了收緊分為能夠達到反壓除菌。如需水冷卻需耍在鍋內控制,需耍開水泵打放鍋里上邊的放水管或去接收水生死輪回標準。

 
在滅菌的出生時辰,擔心高溫引致水果水果罐頭食品的環境的溫度變低了,水果水果罐頭食品內的壓差會跨度罐外的的壓差。方便杜絕滅菌時安全塑料瓶子內增壓二引致跳蓋,對馬口鐵罐兩端面凸出來的,要釋放反的壓差,放碼是對必須較高滅菌環境的溫度的肉類食品水果水果罐頭食品就更得必須了。
使用反壓強的殺菌消毒,大便發黑用緊繃營造氛圍通放鍋里內增加必定會的壓強,以免水果罐頭凸罐和跳蓋,它的操控室內環境這:
根據緊繃學習風氣是否良導電體,況且蒸氣自己的又兼具必定會的各種壓力值。在殺菌的消毒的加熱的前進行程中,不放入緊繃學習風氣,而僅僅在滿足殺菌的消毒的的濕度后始終處于隔熱時,才開放性緊繃學習風氣進入到鍋內,使鍋內更具0.5~0.15個十足壓。在顛末殺菌的消毒的后,制冷急冷時,遏止了市場機制蒸氣,將急冷通水各種壓力入灑水管后。根據鍋內的濕度著陸,使得蒸氣迅速冷凝劑了,而使鍋功力下跌容納了緊繃學習風氣的各種壓力值來解決。
在消毒消菌的任務管理器中,應當按照期重視之后的進氣,使水蒸氣就可以相護寬敞通暢。也可不間斷15-20min放氣一個,就可以促進熱相互交換。顯然要知足消毒消菌原則的劃界,按必定的程序流程壓制,消毒消菌的溫度的精致和消毒消菌壓的必有妖,消毒消菌情況的是不是和使用玩法等基本上由肉罐頭化合物的消毒消菌流程做好的詳解劃界。諸城消毒消菌鍋的利用無球與養護,諸城臭氧消毒鍋也可以及時查抄,每一個月更少杜絕一遍內外的查抄,今年更少杜絕一遍的全面核實,核實前的籌備級任務和核實項目,也是按技術規范和光于劃界杜絕的,核實的行業報告要存擋企業備案。在法寶禁用時,可以將除菌鍋和大鍋的表中本身都是要洗濯擦洗。穿孔的粗加工本身刷過上防腐防銹漆,安靜測試有節制儀表板要放上罩封保護。
 
在操作時根本性要給出正路流量操作,如此功能運用報告單好,諸城臭氧消毒鍋值當你安穩采辦!
殺菌鍋有何出格的長處你曉得嗎? 如何區分雙層殺菌鍋的裝備的范例
接洽咱們
聯 系 人:崔司理

發賣熱線:15863610688 我司德律風:0536-2161826 廠家郵件地址:cch2018315@163.com 新公司時間:安徽省煙臺市諸都昌城孫村社區服務站